Whitfield County Tax Parcel Information

Owner and Parcel Information

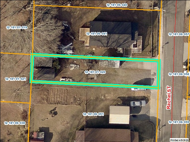
Parcel Number 12-181-01-020
Realkey 15997
Property Record Card Click Here
GIS Map Map
Owner Name NICHOLSON EMILY DIANNE PAINTER
Owner Address 933 RACHEL STREET
Owner Address 2
Owner Address 3
Owner City DALTON
Owner State GA
Owner Zip 30720
Latitude 34.78555116
Longitude -84.96889825
Property Information
Class Residential
Strata Lot
Tax District City of Dalton
Neighborhood CRNHAM
Legal Description 1/2 L351 CROWN COT MILL
Total Acres 0.06
Zoning See GIS Map
GMD\Map Number
Subdivision
Subdivision Phase
Subdivision Section 0002
Subdivision Block
Subdivision Lot
Comments:
Appeals Information
Appeal Year 2024
Appeal Status Resolved
Parcel Address
Parcel House Number 933
Parcel Street Extension
Parcel Street Direction
Parcel Street Name RACHEL
Parcel Street Units
Parcel Street Type ST
Current Fair Market Value Information
Previous 3780
Current 3780
Land 3780
Residential Improvement
Commercial Improvement
Accessory Improvement
Conservation Use Value
Historical Fair Market Value Information
2023 13500
2022 3780
2021 3780
Exemption Information
Homestead S0
Preferential Year
Conservation Use Year
Historical Year
Historical Val 0
EZ year
EZ Val 0
 GIS Quickmap
Launch Interactive GIS Map
 For the current GIS map of this parcel, click on the Quickmap to launch the interactive map viewer
 Tax Commissioner Information
  Before making payment verify the amount due with the Tax Commissioner’s office at 706-275-7510
Tax Bill Recipient NICHOLSON EMILY DIANNE PAINTER
Year 2024
Parcel Number 12-181-01-020
Bill 226845
Exemption Type
Account No. 7103166
Millage Rate 0
Fair Market Value 3780
Assessed Value 1512
Prior Years Tax Data Tax
Legal Description 1/2 L351 CROWN COT MILL
Sale Date
Taxes Due 43.84
Taxes Due Date 1/20/2026
Taxes Paid 43.84
Taxes Paid Date 1/30/2025 3:44:38 PM
Current Due 0
Back Taxes 0
Total Due 0
   
 Commercial Structure Information
 This parcel does not have any commercial structures to display
 Residential Structure Information
 This parcel does not have any residential structures to display
 Accessory Information
 This parcel does not have any accessories to display
 Sales Information
Grantee PAINTER GREGORY B
Grantor TALLEY LEWIS A
Sale Price 2500
Sale Date 4/1/2003
Deed Book/Page 4269 0106
Deed Link Click Here
Class Residential
Strata Lot
Reason FAIR MARKET IMPROVED SALE
State N
PT-61 PT-61 155-2004-000000
Comments